Winbond W25Q512JV 3.0V 512M-Bit Serial Flash Memory
Winbond W25Q512JV 3.0V 512M-Bit Serial Flash Memory provides a storage solution for systems with limited space, pins, and power. The 25Q series offers flexibility and performance well beyond ordinary Serial Flash devices. The devices are ideal for code shadowing to RAM, executing code directly from Dual/Quad SPI (XIP), and storing voice, text, and data.Features
- Family of SpiFlash Memories
- W25Q512JV: 512M-bit / 64M-byte
- Standard SPI: CLK, /CS, DI, DO, /WP, /Hold
- Dual SPI: CLK, /CS, IO0, IO1, /WP, /Hold
- Quad SPI: CLK, /CS, IO0, IO1, IO2, IO3
- SPI/QPI DTR (Double Transfer Rate) Read
- 3 or 4-Byte Addressing Mode
- Software and Hardware Reset
- Highest Performance Serial Flash
- 133MHz Standard/Dual/Quad SPI clocks
- 266/532MHz equivalent Dual/Quad SPI
- 66MB/S continuous data transfer rate
- Min. 100K Program-Erase cycles per sector
- More than 20-year data retention
- Flexible Architecture with 4KB sectors
- Uniform Sector/Block Erase (4K/32K/64K-Byte)
- Program 1 to 256 byte per programmable page
- Erase/Program Suspend and Resume
- Low Power, Wide Temperature Range
- Single 2.7V to 3.6V supply
- <1µA Power-down (typ.)
- -40°C to +85°C operating range
- Advanced Security Features
- Software and Hardware Write-Protect
- Power Supply Lock-Down
- Special OTP protection
- Top/Bottom, Complement array protection
- Individual Block/Sector array protection
- 64-Bit Unique ID for each device
- Discoverable Parameters (SFDP) Register
- 3X256-Bytes Security Registers with OTP locks
- Volatile and Non-volatile Status Register Bits
- Space Efficient Packaging(2)
- 8-pad WSON 8x6mm
- 16-pin SOIC 300-mil (additional /RESET pin)
- 24-ball TFBGA 8x6mm(5x5 ball array)
- Contact Winbond for KGD and other options
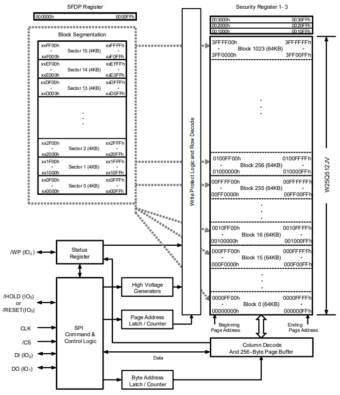
Block Diagram
Publicado: 2022-07-07
| Actualizado: 2022-08-30
