Power Partners PDAM120 Power Supplies
Power Partners PDAM120 Power Supplies offer 120W of output power with a high power density of 15.27W/in3. These power supplies have a no-load power consumption of less than 300mW. The PDAM120 power supplies maintain efficiencies of up to 91% and meet the efficiency level-VI requirements. These power supplies feature Class-I or Class-II configuration and meet UL/EN 60601-1 medical approval. Power Partners PDAM120 Power Supplies are best suited for Body Floating (BF) applied part applications.
Features
- 15.27W/in3 high power density
- Class I or Class II configuration
- UL/EN 60601-1 medical approval
- Efficiencies up to 91%
- 90VAC to 264VAC input voltage range
- 47Hz to 63Hz input frequency range
- Meets efficiency level-VI requirements
- <300mW no-load power consumption
- 3.04" x 2" x 1.31" dimensions
- Small 2" x 3" package
- Suitable for BF applied part applications
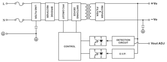
Block Diagram
Publicado: 2019-07-09
| Actualizado: 2025-12-12
