Toshiba Microcontrolador de 32 bits TMPM471F10FG

El microcontrolador de 32 bits TMPM471F10FG de Toshiba se basa en el procesador Arm® Cortex®-M4 con FPU. Este microcontrolador funciona en un rango de frecuencia de 1 MHz a 160 MHz y en un rango de voltaje de 4.5 V a 5.5 V. El microcontrolador TMPM471F10FG admite la rotación de FirmWare mediante la función de intercambio de memoria. Este microcontrolador incluye una capacidad de memoria flash máxima de 1 MB y mantiene hasta 100,000 ciclos de programa/borrado, lo que admite mejoras en la funcionalidad del dispositivo. El microcontrolador TMPM471F10FG cuenta con un convertidor de señal analógica a digital (ADC) de 12 bits, interfaz I2C versión A (EI2C) e interfaz serial asíncrona (UART). Este microcontrolador se utiliza en aplicaciones como equipos de motores, acondicionadores de potencia, robots, lavadoras y refrigeradores.

Características

  • Procesador ARM Cortex-M4 con FPU:
    • Rango de frecuencia de funcionamiento de 1 MHz a 160 MHz
    • Unidad de protección de memoria (MPU)
  • Modo de bajo consumo de energía:
    • Rango de voltaje en funcionamiento de 4.5 V a 5.5 V
    • Operación de bajo consumo de energía IDLE, STOP1
  • Memoria interna:
    • 1 MB de código flash, regrabable hasta 100.000 veces
    • El área de código flash es regrabable en paralelo con la ejecución de instrucciones en otra área de código
    • RAM de 64 KB con paridad
  • Reloj:
    • Oscilador externo de alta velocidad de 6 MHz a 24 MHz (cerámica, vidrio)
    • Entrada de reloj externo de alta velocidad de 6 MHz a 10 MHz
    • Oscilador interno de alta velocidad con función de ajuste por parte del usuario (IHOSC1) de 10 MHz
    • PLL de salida (reloj del sistema) de 160 MHz
  • Convertidor de señal analógica a digital (ADC) de 12 bits:
    • 23 entradas en 2 unidades
    • Tiempo de conversión de 0.6µs
    • Función de soporte de autodiagnóstico
  • Circuito de control de motor programable avanzado (A-PMD):
    • 2 canales
    • Salida PWM complementaria trifásica y sincronizada con ADC
    • Admite control PFC entrelazado trifásico
    • Función de parada de emergencia por entradas externas (pin EMG, pin OVV)
  • Contador de eventos de temporizador de 32 bits (T32A):
    • 5 canales como temporizadores de 32 bits y 10 canales como temporizadores de 16 bits
    • Temporizador de intervalos, contador de eventos, captura de entradas, entrada de diferencia de fases, salida PPG, inicio de sincronización e inicio de activación
  • Temporizador Watchdog (SIWDT):
    • 1 canal
    • Se puede seleccionar un sistema de reloj diferente al reloj del sistema
    • Limpiar ventana, interrupciones y restablecer salida

Aplicaciones

  • Industrial:
    • Inversores
    • Equipo de motores
    • Acondicionadores de potencia
    • Robots
  • Consumidor:
    • Acondicionadores de aire
    • Lavadoras
    • Refrigeradores
       

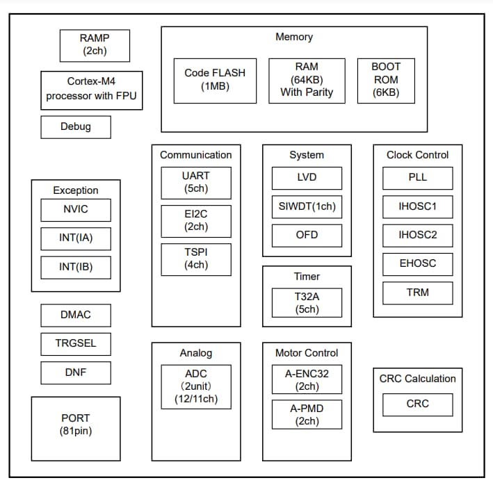
Diagrama de bloques

Diagrama de bloques - Toshiba Microcontrolador de 32 bits TMPM471F10FG
Publicado: 2025-02-21 | Actualizado: 2025-04-17