Texas Instruments UCC21756-Q1 Isolated Single-Channel Gate Driver

Texas Instruments UCC21756-Q1 Isolated Single-Channel Gate Driver is designed for SiC MOSFETs and IGBTs up to 2121V DC operating voltage with advanced protection features, best-in-class dynamic performance, and robustness. UCC21756-Q1 has up to ±10A peak source and sink current. The input side is isolated from the output side with SiO2 capacitive isolation technology, supporting up to 1.5kVRMS working voltage, 12.8kVPK surge immunity with longer than 40-years isolation barrier life, and providing low part-to-part skew, and > 150V/ns common mode noise immunity (CMTI).

The Texas Instruments UCC21756-Q1 includes the state-of-art protection features, such as fast overcurrent and short circuit detection, fault reporting, and active Miller clamp. It also provides input and output side power supply UVLO to optimize SiC and IGBT switching behavior and robustness. The isolated analog to PWM sensor can be utilized for easier temperature or voltage sensing, increasing the drivers’ versatility and simplifying the system design effort, size, and cost.

Features

  • 5.7kVRMS single-channel isolated gate driver
  • AEC-Q100 Qualified with the following results
    • -40°C to +150°C ambient operating temperature range (device temperature grade 0)
    • Device HBM ESD classification level 3A
    • Device CDM ESD classification level C6
  • Functional Safety Quality-Managed
    • Documentation available to aid functional safety system design
  • SiC MOSFETs and IGBTs up to 2121Vpk
  • 33V maximum output drive voltage (VDD-VEE)
  • ±10A drive strength and split output
  • 150V/ns minimum CMTI
  • 200ns response time fast DESAT protection with 5V threshold
  • 4A internal active Miller clamp
  • 900mA soft turn-off when a fault happens
  • Isolated analog sensor with PWM output for
    • Temperature sensing with NTC, PTC, or thermal diode
    • High voltage DC-link or phase voltage
  • Alarm FLT on overcurrent and reset from RST/EN
  • Fast enable/disable response on RST/EN
  • Reject < 40ns noise transient and pulse on input pins
  • 12V VDD UVLO with power good on RDY
  • Inputs/outputs with over- or under-shoot transient voltage immunity up to 5V
  • 130ns (maximum) propagation delay and 30ns (maximum) pulse/part skew
  • SOIC-16 DW package with creepage and clearance distance > 8mm
  • Operating junction temperature –40°C to 150°C

Applications

  • Traction inverters for EVs
  • Onboard chargers and charging piles
  • DC/DC converters for HEV/EVs

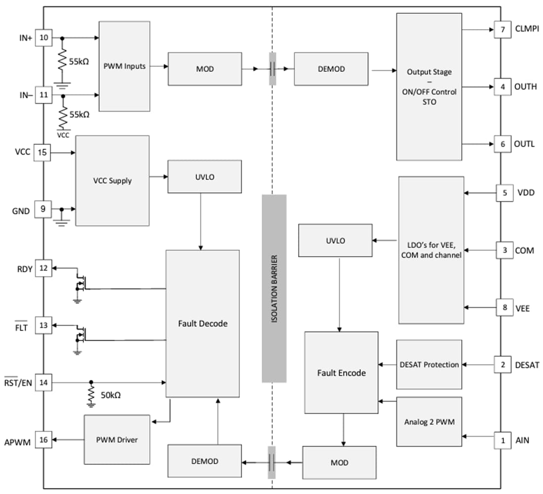
Functional Block Diagram

Block Diagram - Texas Instruments UCC21756-Q1 Isolated Single-Channel Gate Driver
Publicado: 2023-05-05 | Actualizado: 2025-03-06