Texas Instruments OPAx196 Low-Power Operational Amplifiers

Texas Instruments OPAx196 Low-Power All-Purpose Operational Amplifiers offer 36V, rail-to-rail e-trim™ operational amplifiers (op-amps). These devices offer very low offset voltage (±25µV, typical), drift (±0.5µV/°C, typical), and low bias current (±5pA, typical). These features are combined with very low quiescent current (140µA/channel, typical) across the entire output range. Unique features include differential input-voltage range to the supply rail, high output current (±65mA), and high capacitive load drive of up to 1nF. This makes the OPAx196 a robust, high-performance operational amplifier for high-voltage industrial applications.

Features

  • ±100µV (maximum) Low offset voltage
  • ±0.5µV/°C (typical) Low offset voltage drift
  • ±5pA (typical) Low bias current
  • 140dB High common-mode rejection
  • 15nV/√Hz at 1kHz Low noise
  • Rail-to-Rail input and output
  • Differential input voltage range to supply rail
  • 2.5MHz GBW Wide bandwidth
  • 140µA per amplifier (typical) Low quiescent current
  • ±2.25V to ±18V, 4.5V to 36V Wide supply
  • EMI/RFI Filtered inputs
  • 1nF High capacitive load drive capability
  • Industry-standard packages
    • Single in SOIC-8, SOT-5, and VSSOP-8
    • Dual in SOIC-8 and VSSOP-8
    • Quad in SOIC-14, TSSOP-14, and QFN-16

Applications

  • Multiplexed data-acquisition systems
  • Test and measurement equipment
  • High-resolution ADC driver amplifiers
  • SAR ADC Reference buffers
  • Analog input and output modules
  • High-side and low-side current sensing
  • High-precision comparator
  • Medical instrumentation

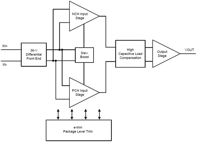
Functional Block Diagram

Block Diagram - Texas Instruments OPAx196 Low-Power Operational Amplifiers
Publicado: 2017-10-06 | Actualizado: 2022-06-27