Texas Instruments LP8756x-Q1 Four-Phase Buck Converters

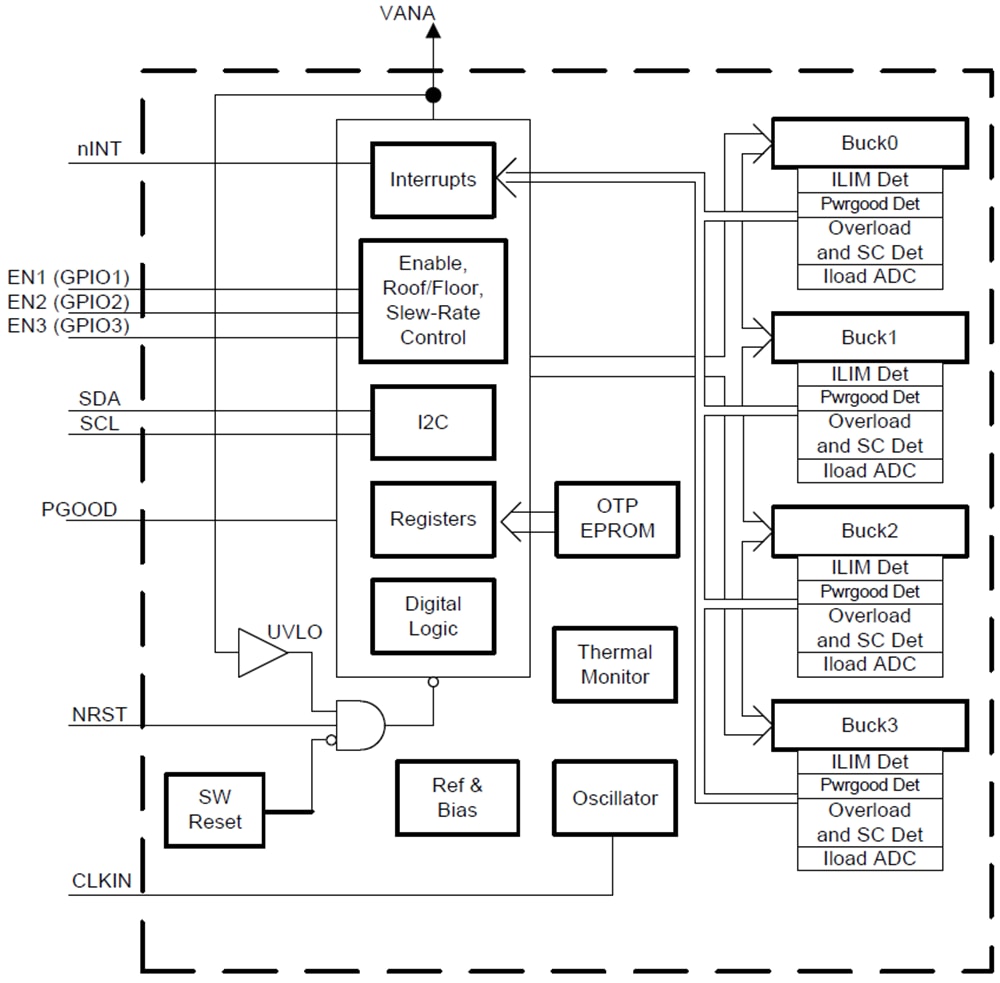
Texas Instruments LP8756x-Q1 Four-Phase Buck Converters are designed to meet the power management requirements of processors and platforms in various automotive power applications. The device contains four step-down DC/DC converter cores, which are configured as a 4-phase output, 3-phase and 1-phase outputs, 2-phase and 2-phase outputs, one 2-phase and two 1-phase outputs, or four 1-phase outputs. The device is controlled by an I2C-compatible serial interface and also by enable signals.

Features

  • Qualified for automotive applications
  • AEC-Q100 Qualified with the following results
    • Device Temperature Grade 1: –40°C to +125°C ambient operating temperature
    • Device HBM ESD Classification Level 2
    • Device CDM ESD Classification Level C4B
  • 2.8V to 5.5V Input voltage
  • 0.6V to 3.36V Output voltage
  • Four high-efficiency step-down DC/DC converter cores
    • 16A (4A per Phase) Maximum output current
    • 0.5mV/µs to 10mV/µs Programmable output voltage slew-rate
  • 2MHz Switching frequency
  • Spread-spectrum mode and phase interleaving
  • Configurable General Purpose I/O (GPIOs)
  • I2C-Compatible interface that supports standard (100kHz), fast (400kHz), fast+ (1MHz), and high-speed (3.4MHz) modes
  • Interrupt function with programmable masking
  • Programmable Power-Good Signal (PGOOD)
  • Output short-circuit and overload protection
  • Overtemperature warning and protection
  • Overvoltage Protection (OVP) and Undervoltage Lockout (UVLO)

Applications

  • Automotive infotainment
    • Cluster
    • Radar
    • Camera power applications

Functional Block Diagram

Block Diagram - Texas Instruments LP8756x-Q1 Four-Phase Buck Converters
Publicado: 2018-08-23 | Actualizado: 2025-03-10