Texas Instruments DP83848x 10/100Mb/s Ethernet PHY
Texas Instruments DP83848x 10/100Mb/s Ethernet PHY was designed for applications requiring Ethernet connectivity with extended temperature performance beyond the typical Industrial temperature range. The Texas Instruments DP83848x is a highly reliable, feature-rich, robust device that meets IEEE 802.3 standards over multiple temperature ranges (extreme to commercial temperatures). This device is ideally suited for harsh environments such as automotive/transportation, wireless remote base stations, and industrial control applications.It offers the choice of an RMII or MII interface for maximum flexibility in MPU selection and enhanced ESD protection, all in a 48-pin package.
Features
- Multiple temperature ranges from –40°C to 105°C
- Low-power 3.3V, 0.18µm CMOS technology
- Low-power consumption of < 270mW typical
- 3.3V MAC interface
- Auto-MDIX for 10/100Mb/s
- Energy detection mode
- 25MHz clock output
- SNI interface (configurable)
- RMII Rev. 1.2 interface (configurable)
- MII serial management interface (MDC and MDIO)
- IEEE 802.3 MII
- IEEE 802.3 auto-negotiation and parallel detection
- IEEE 802.3 ENDEC, 10BASE-T transceivers and filters
- IEEE 802.3 PCS, 100BASE-TX transceivers and filters
- IEEE 1149.1 JTAG
- Integrated ANSI X3.263 compliant TP-PMD
- Physical sub-layer with adaptive equalization and baseline wander compensation
- Error-free operation up to 150 meters
- Programmable LED support for Link, 10/100Mb/s mode, activity, duplex, and collision detect
- Single register access for complete PHY status
- 10/100Mb/s packet BIST (Built-in Self Test)
Applications
- Automotive/transportation
- Industrial controls and factory automation
- General embedded applications
Videos
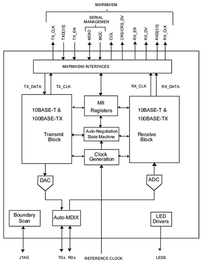
Functional Block Diagram
Publicado: 2024-10-29
| Actualizado: 2024-12-13
