Texas Instruments AFE4462 Ultra-Small Integrated AFE
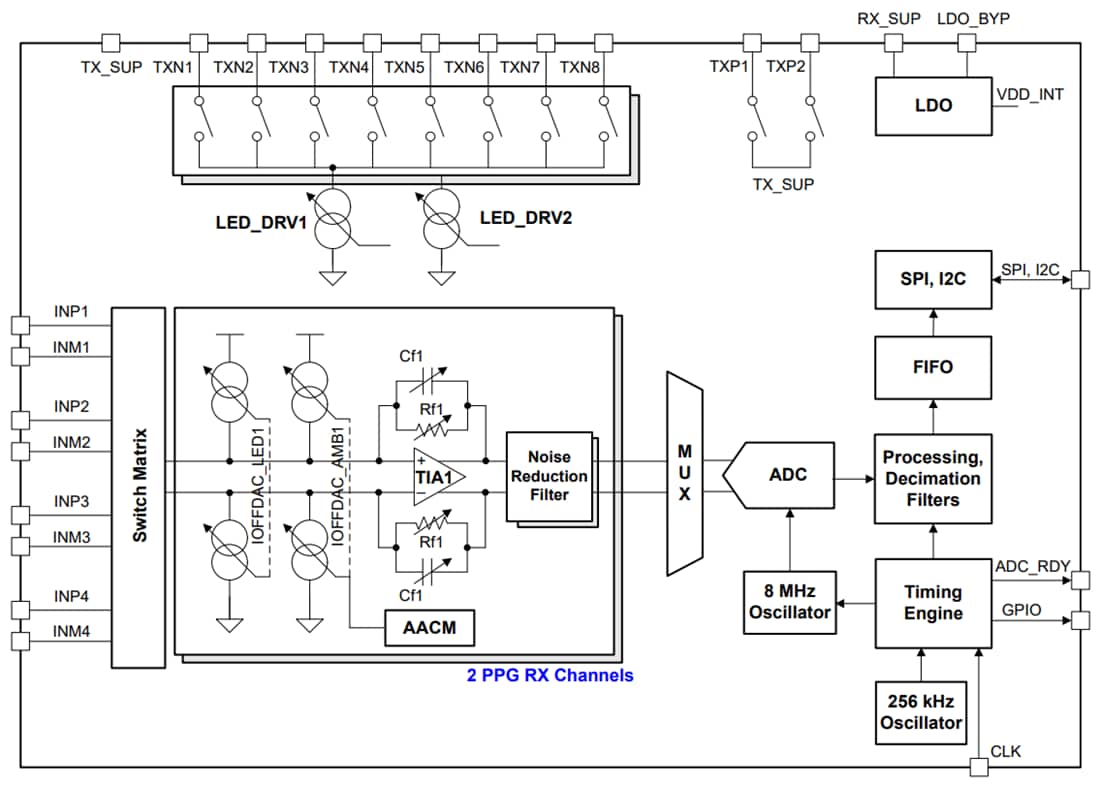
Texas Instruments AFE4462 Ultra-Small Integrated Analog Front-End (AFE) is an AFE for optical bio-sensing applications, such as saturation of peripheral capillary oxygen (SpO2) and heart-rate monitoring (HRM). The device supports up to four photodiodes (PDs) and up to 16 switching light-emitting diodes (LEDs). The AFE has two LED drivers, each with an 8-bit current control. The Texas Instruments AFE4462 has a high dynamic range transmit-and-receive circuitry that helps sense very small signal levels. Up to 16 signal phase sets can be defined, each phase set comprising a combination of ambient phases and LED. Low noise offset DACs at the receiver inputs can be automatically controlled to cancel DC from LED and ambient light. The current from each of the four PDs in each phase is converted into voltage by TIAs, filtered, and then digitized using a common ADC. The ADC code can be stored in a 256-sample FIFO block. The FIFO can be read out using an SPI or I2C interface.Features
- Supports signal acquisition of up to 16 phase sets
- Supports up to 16 LEDs, 4 PDs
- Flexible allocation of LEDs and PDs in each phase
- Simultaneous signal acquisition from different sensors at different data rates
- Accurate, continuous PPG monitoring
- Low current for constant heart-rate monitoring on a wearable device with a typical value of 15µA for an LED and 15µA for the receiver
- Peak system SNR of 115dB
- Receiver
- Supports four time-multiplexed PD inputs
- Two parallel receivers (four sets of TIA/filter)
- Individual ambient offset subtraction DAC at each TIA Input with 8-bit per-phase control and range adjustable up to 255µA
- Individual LED offset subtraction DAC at each TIA input with 9-bit per-phase control and 64µA range
- Digital ambient subtraction at ADC output
- Noise filtering with programmable bandwidth
- Transimpedance gain: 3.7kΩ to 1MΩ
- Transmitter
- 8-bit programmable LED current with range adjustable from 25mA to 250mA
- Mode to fire two LEDs in parallel with independent per-phase current control
- Programmable LED on-time per-phase
- Simultaneous support of 16 LEDs for SpO2, Multi-Wavelength HRM, and spectroscopy
- Supports external clock or internal oscillator
- Option to acquire data synchronized with a system clock
- Automatic cancellation of DC from Ambient, LED
- FIFO with 256-sample depth
- SPI™ interface/I2C interface
- 2.6mm × 2.6mm DSBGA, 0.4mm Pitch
- Supplies
- Rx: 1.7V to 1.9V (LDO bypass); 1.9V to 3.6V (LDO enabled)
- Tx: 3V to 5.5V, IO: 1.7RX_SUP
Applications
- Optical Heart-Rate Monitoring (HRM) for wearables, hearables
- Heart-Rate Variability (HRV)
- Pulse Oximetry (SpO2) measurements
- Optical spectroscopy
Block Diagram
Publicado: 2025-02-25
| Actualizado: 2025-03-11
