Omron Industrial Automation S8VK-WB Switch Mode Power Supplies

Omron Industrial Automation S8VK-WB Switch Mode Power Supplies add additional features in a reduced footprint size. Available from 240 watts up to 960 watts with options for both 24VDC and 48VDC. The S8VK-WB series adds coated internal electronics, front panel visual status indicators and push-in plus termination while still supporting a wide acceptable input range including 3-Phase input (3 x 340 to 576VAC) 2-Phase input (2 X 340 to 576VAC) and DC input excluding 960W (450 to 810VDC). The series operates at an ambient temperature of -40°C to +70°C and enables side-by-side mounting. S8VK-WB is certified for 3000m altitude and complies with the SEMI F47-0706 standard.

Features

  • Operates at an ambient temperature of -40°C to +70°C
  • Side-by-side mounting enabled
  • Complies with SEMI F47-0706 standard
  • Certification for 3000m altitude
  • Coated PCBs for better resistance to environment
  • Equipped with signal output that indicates DC OK and the overload status

Specifications

  • 240W, 480W, and 960W power ratings
  • 24V or 48V output voltage
  • 380V to 480V rated input voltage
  • 5A to 20A rated output current

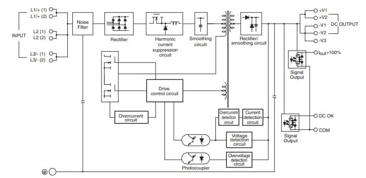
Block Diagram

Block Diagram - Omron Industrial Automation S8VK-WB Switch Mode Power Supplies
Publicado: 2021-04-01 | Actualizado: 2022-03-11