NXP Semiconductors ASLx507 DC-to-DC Boost Converters
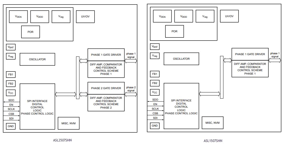
NXP Semiconductors ASLx507 DC-to-DC Boost Converters include single and dual-phase ICs with a programmable limp-home mode. These boost converter ICs include one or two integrated gate drivers which drive external power MOSFETs and integrated Proportional-Integral (PI) controllers. NXP ASLx507 Boost Converters provide an SPI interface for extensive control and diagnostic communication with an external microcontroller. These boost converters allow configurable operation in the limp-home mode if SPI communication with the microcontroller fails. The outputs of the ASLx507 ICs operate according to predefined conditions stored in non-volatile memory (NVM) programmable by the customer in the limp-home mode.Features
- AEC-Q100 grade 1 qualified
- Limp-home mode ensures system safety
- Single phase on each output or double phase on one output
- Two independently controlled output voltages with 3% accuracy
- 125kHz to 700kHz fixed frequency operation via built-in oscillator
- Programmable spread spectrum functionality
- Gate switching is halted when overvoltage on output is detected
- Programmable gate voltage
- Low electromagnetic emission (EME) and high electro-magnetic immunity (EMI)
- Slope compensation to track frequency and output voltage
- Programmable control loop compensation
- Output voltage monitoring
- Supply voltage measurement
- Read-back programmed voltage and frequency range via SPI
- Junction temperature monitoring via SPI
- HVQFN32 package outline
Specifications
- 5.5V to 40V wide operating input range
- 2.5V to 80V wide operating LED voltage
- <5µA quiescent current at +25°C
- -40°C to +125°C operating ambient temperature range
Applications
- Automotive LED lighting
- Daytime running lights
- Position or park lights
- Low beams
- High beams
- Turn indicators
- Fog lights
- Cornering lights
- Industrial/consumer
- Lighting (interior)
- Control panels
- Battery chargers
- E-bikes
Block Diagram
View Results ( 4 ) Page
| N.º de artículo | Hoja de datos | Descripción | Número de canales | Voltaje de entrada | Frecuencia de trabajo | Corriente de suministro - Máx. | Paquete / Cubierta |
|---|---|---|---|---|---|---|---|
| ASL2507SHNY | ![]() |
IC de controladores de iluminación LED Dual phase boost converter IC, Automotive grade, SPI, Limp Home mode | 2 Channel | 5.5 V to 40 V | 125 kHz to 700 kHz | 250 uA | HVQFN-32 |
| ASL1507SHNY | ![]() |
IC de controladores de iluminación LED Single-phase boost converter IC , automotive grade, SPI, Limp Home mode | 1 Channel | 5.5 V to 40 V | 125 kHz to 700 kHz | 250 uA | HVQFN-32 |
| ASL2500SHNY | ![]() |
IC de controladores de iluminación LED Two-Phase Automotive LED Boost Driver | 1 Channel | 5.5 V to 40 V | 20 mA | HVQFN-32 | |
| ASL1500SHNY | ![]() |
IC de controladores de iluminación LED Single-Phase Automotive LED Boost Driver | 20 mA | HVQFN-32 |
Publicado: 2018-12-06
| Actualizado: 2022-10-12

