The analog-focused Microchip PIC18-Q71 MCUs incorporate a 12-bit differential ADC with computation and context switching, two operational amplifiers, a 10-bit Digital-to-Analog Converter (DAC), and two 8-bit DAC modules with buffered outputs and internal connections to other peripherals, and two advanced high-speed analog comparators. Additionally, the devices feature the Analog Peripheral Manager to manage analog peripherals for optimizing power consumption.
The PIC18-Q71 microcontrollers offer the 8-bit virtual port module to interconnect digital peripherals without utilizing external pins.
Features
- C Compiler-optimized RISC architecture
- 128-level deep hardware stack
- Four Direct Memory Access (DMA) controllers:
- Data transfers to SFR/GPR spaces from either the Program Flash Memory, Data EEPROM, or SFR/GPR spaces
- User-programmable source and destination sizes
- Hardware and software-triggered data transfers
- Vectored interrupt capability:
- Selectable high/low priority
- Fixed interrupt latency of three instruction cycles
- Programmable vector table base address
- Backward compatible with previous interrupt capabilities
- Operating speed:
- DC to 64MHz clock input
- 62.5ns minimum instruction cycle
- Low-current Power-on Reset (POR)
- Configurable Power-up Timer (PWRT)
- Brown-out Reset (BOR)
- Low-Power BOR (LPBOR) option
- Windowed Watchdog Timer (WWDT):
- Watchdog Reset on too long or too short intervals between watchdog clear events
- Variable prescaler selection
- Variable window size selection
Applications
- Analog and digital sensors in mixed-signal edge nodes and single-chip applications
- Lighting
- Motor control
- Medical
- Home automation
- Automotive
- Internet of Things (IoT)
Additional Resources
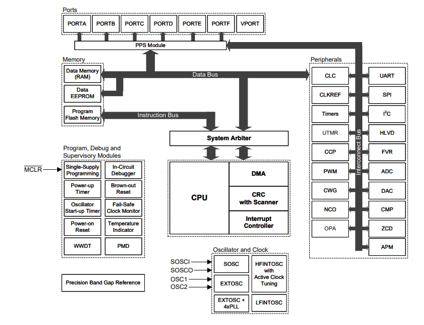
Block Diagram
Videos
Publicado: 2023-03-01
| Actualizado: 2024-11-06

