Microchip Technology PIC16F1459 8-bit USB MCUs

Microchip PIC16F1459 8-bit USB 2.0 Microcontrollers (MCUs) are 20-pin Flash devices delivering full-speed USB capability without the need of the usual external oscillator. These Microchip devices feature XLP extreme low power technology and a low sleep mode of 25nA at 1.8V. PIC16F1459 48MHz MCUs are part of the PIC16F145x series that comprises Microchip's lowest-cost and smallest-form-factor USB MCUs.

Features

  • Enhanced mid-range core with 49 instruction, 16 stack levels
  • Flash program memory with self-read/write capability
  • Internal 48MHz oscillator
  • Universal Serial Bus 2.0 module with clock recovery from USB host
  • 2x standalone PWM modules
  • Complementary Waveform Generator (CWG) module
  • Integrated Temperature Indicator module
  • 10-channel 10-bit ADC with voltage reference
  • 2 analog comparators
  • 5-bit digital to analog converter (DAC)
  • MI2C / SPI module
  • Enhanced addressable USART module
  • 25mA source/sink current I/O
  • 2x 8-bit timers (TMR0/TMR2)
  • 1x 16-bit timer (TMR1)
  • Extended watchdog timer (WDT)
  • Enhanced power-on/off-reset
  • Low-power brown-out reset (LPBOR)
  • Programmable brown-out reset (BOR)
  • In-circuit serial programming (ICSP)
  • Integrated in-circuit debug circuit
  • PIC16F145x (1.8V - 5.5V)

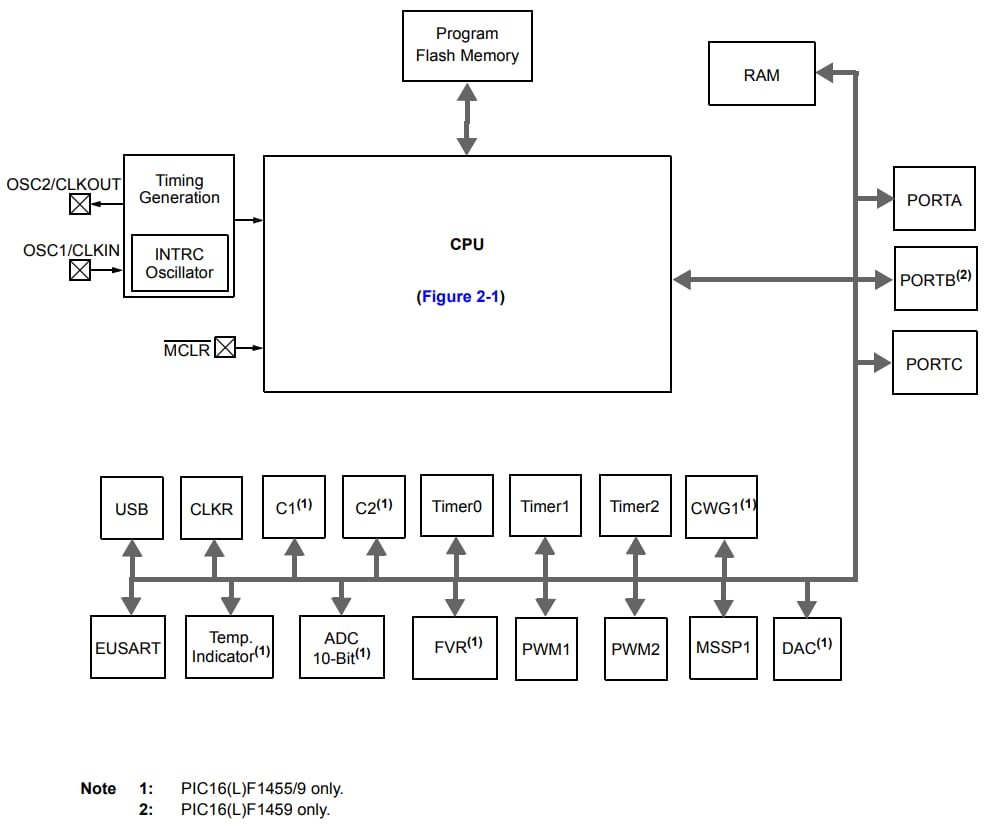
Block Diagram

Microchip Technology PIC16F1459 8-bit USB MCUs
Publicado: 2013-05-23 | Actualizado: 2022-03-11