Epson Timing RX-8571SA/LC Real-Time Clock Modules

Epson Timing RX-8571SA/LC Real-Time Clock Modules offer a 1.6V to 5.5V operating voltage range and 220nA typical backup current. RX-8571SA/LA modules feature a built-in frequency adjusted 32.7kHz crystal unit, I2C-Bus interface, and 128-bit user RAM. These modules have numerous functions, including timers, alarms, and full calendar. Epson Timing RX-8571SA/LC Real-Time Clock Modules operate in the -40°C to +85°C temperature range.

Features

  • FOE pin enable output on/off control
  • Adjustable output frequency
  • Timer function
  • Alarm function

Applications

  • Automotive
    • Car multimedia
    • Body electronics
    • Remote keyless entry

Specifications

  • Built-in 32.7kHz crystal unit
  • 1.6V to 5.5V operating voltage range
  • 220nA//3V backup current
  • 128-bit built-in user RAM
  • -40°C to +85°C operating temperature range

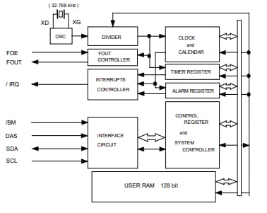
Block Diagram

Epson Timing RX-8571SA/LC Real-Time Clock Modules
Publicado: 2022-04-06 | Actualizado: 2022-04-12