Diodes Incorporated PI3EQX2024 USB 3.2 ReDriver

Diodes Incorporated PI3EQX2024 USB 3.2 ReDriver is a low-power, high-performance, Gen 2x2 linear ReDriver™ designed specifically for the USB 3.2 protocol. This device provides programmable equalization and flat gain to optimize performance over various physical mediums by reducing intersymbol interference. The PI3EQX2024 ReDriver features a 5Gbps and 10Gbps serial link with a linear equalizer and supports two 100Ω differential CML data I/Os. These I/Os connect the protocol ASIC to a switch fabric, either through cable or by extending the signals across other data paths on the user's platform. The PI3EQX2024 also includes an automatic receiver detect function and comes in a 34-pin, UQFN 2.5mm x 4.5mm (ZTF34) packaging. Ideally, this device is used in laptops, computers, smartphones, and storage applications.

Features

  • USB 3.2 Gen 2 and Gen 1 compatible
  • USB 3.2 Gen 2x2 compatible
  • 5Gbps and 10Gbps serial link with linear equalizer
  • Pin adjustable receiver equalization
  • Pin adjustable flat gain
  • 3.3V single supply voltage
  • 100Ω differential CML I/Os
  • Four 10Gbps differential signal pairs
  • Auto slumber mode for adaptive power management
  • Automatic receiver detect
  • Patented technology
  • Totally lead-free and fully RoHS compliant
  • Halogen and antimony free
  • Pb-free and "Green" device
  • 34-pin, UQFN 2.5mm x 4.5mm (ZTF34) packaging

Applications Overview

Diodes Incorporated PI3EQX2024 USB 3.2 ReDriver

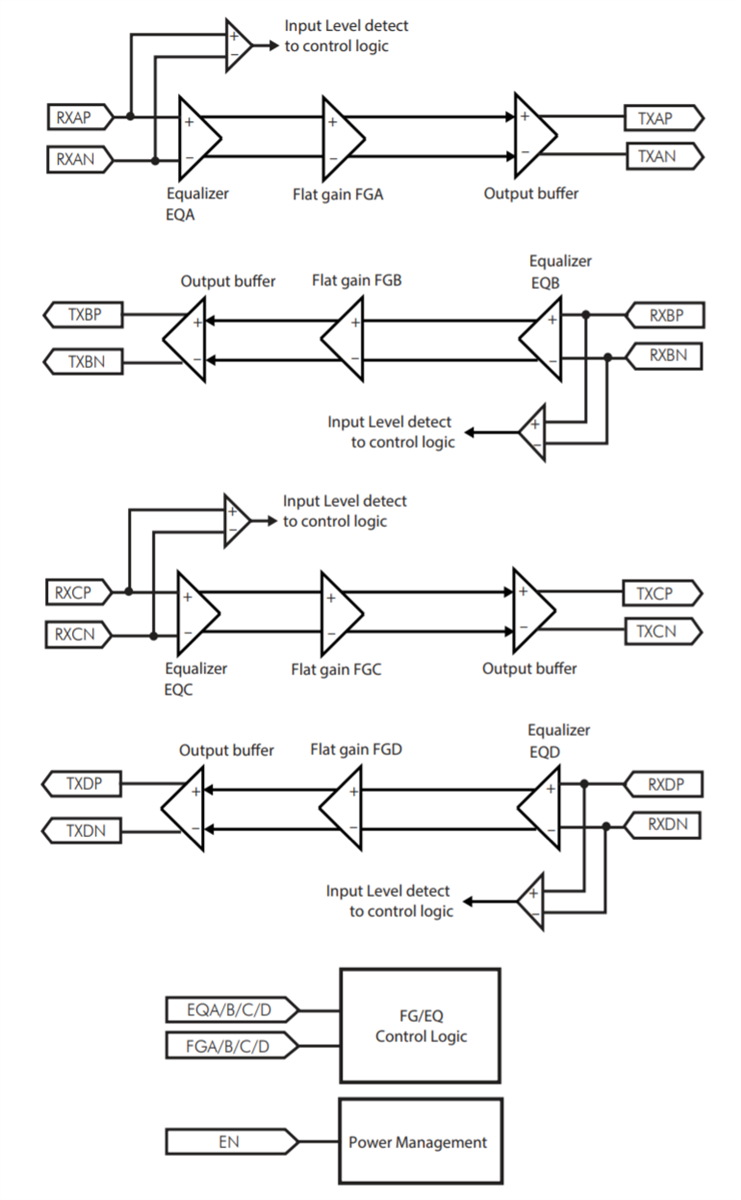
Block Diagram

Block Diagram - Diodes Incorporated PI3EQX2024 USB 3.2 ReDriver
Publicado: 2022-03-10 | Actualizado: 2022-05-30