Broadcom AFBR-S10TR001Z Transceiver

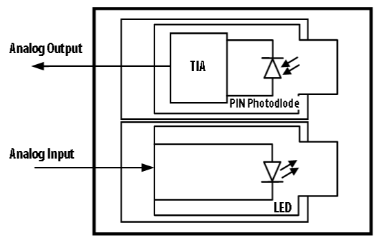
Broadcom AFBR-S10TR001Z Transceiver comes in a very compact design with a form factor similar to the RJ connector. Features a compact and keyed versatile link duplex connector which is also compatible with simplex versatile link connector. This transceiver integrates LED for system self-test applications whereas the receiver consists of a PD and a TIA on a single IC. The AFBR-S10TR001Z transceiver enables the implementation of an optical arc flash sensor over 1mm Plastic Optical Fibre (POF). This lead-free and RoHS-compliant transceiver is used for arc flash detection.

Features

  • Integrated LED for system self-test application
  • High EMI robustness
  • Fast slew rate
  • Compact footprint
  • Temperature range -40°C to 85°C
  • RoHS compliant
  • Versatile link connector system

Block Diagram

Block Diagram - Broadcom AFBR-S10TR001Z Transceiver
Publicado: 2017-05-04 | Actualizado: 2022-03-11