Analog Devices Inc. ADXL362 3-Axis MEMS Accelerometers

Analog Devices ADXL362 3-Axis MEMS Accelerometers consume less than 2μA at a 100Hz output data rate and 270nA when in motion-triggered wake-up mode. The ADXL362 does not alias input signals by undersampling. Instead, it samples the total bandwidth of the sensor at all data rates, unlike accelerometers that use power duty cycling to achieve low power consumption.

The ADXL362 accelerometers offer a 12-bit output resolution, and 8-bit formatted data is also provided for more efficient single-byte transfers when a lower resolution is sufficient. The device features measurement ranges of ±2g, ±4g, and ±8g, with a resolution of 1mg/LSB in the ±2g range. Two lower noise modes (down to 175μg/√Hz typical) can be selected at a minimal increase in supply current for applications where a noise level lower than the normal 550μg/√Hz of the ADXL362 is desired.

The ADXL362 has many features to enable true system-level power reduction, including a deep multimode output FIFO, a built-in micropower temperature sensor, and several activity detection modes. These modes include adjustable threshold sleep and wake-up operation that can run as low as 270nA at a 6Hz measurement rate.

The MEMS accelerometers are available in a 3mm × 3.25mm × 1.06mm package and operate on a wide 1.6V to 3.5V supply range.

Features

  • Ultra low power
    • Power can be derived from coin cell battery
    • 1.8μA at 100Hz ODR, 2.0V supply
    • 3.0μA at 400Hz ODR, 2.0V supply
    • 270nA motion-activated wake-up mode
    • 10nA standby current
  • High resolution of 1mg/LSB
  • Built-in features for system-level power savings
    • Adjustable threshold sleep/wake modes for motion activation
    • Autonomous interrupt processing, without the need for microcontroller intervention, allows the rest of the system to be turned off completely
    • Deep-embedded FIFO minimizes host processor load
    • Awake state output enables the implementation of a standalone, motion-activated switch
  • Low noise down to 175μg/√Hz
  • Wide supply and I/O voltage ranges of 1.6V to 3.5V
    • Operates off 1.8V to 3.3V rails
  • Acceleration sample synchronization via external trigger
  • On-chip temperature sensor
  • SPI digital interface
  • Measurement ranges selectable via SPI command
  • Small and thin 3mm × 3.25mm × 1.06mm package

Applications

  • Hearing aids
  • Home healthcare devices
  • Motion enabled power save switches
  • Wireless sensors
  • Motion enabled metering devices

Additional RESOURCES

Choosing the Right Accelerometer for Predictive Maintenance

Monitoring a machine’s health status enables predictive maintenance, allowing industries to anticipate breakdowns and realize substantial operational savings and downtime. To determine when it is the right time to trigger a maintenance operation, the manufacturer uses parameters such as vibration, noise, and temperature measurements. In a rotating machine (engine, generator, etc.) an abnormal vibration can be a sign of a faulty ball bearing, axle misalignment, imbalance or excessive looseness. Avoid being caught off guard and detect the very first signs of anomaly with a low noise, high bandwidth accelerometer.
Learn More

Condition-Based Monitoring of the Human Body

With advances in technology, vital sign monitoring will become increasingly common in various industries and throughout our daily lives. Whether used for treatment or prevention, such health-related solutions call for reliable and robust technology. 
Learn More

How to Design A Better Pulse Oximeter

This article covers the fundamentals of SpO2 measurement and demonstrates how a new generation of optical analog front ends (AFEs) can help create a better oximeter.

Learn More

Videos

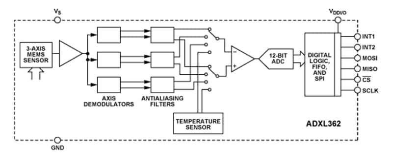
Block Diagram

Block Diagram - Analog Devices Inc. ADXL362 3-Axis MEMS Accelerometers
Publicado: 2019-06-14 | Actualizado: 2024-03-12