Analog Devices Inc. ADSP-SC59x/ADSP-2159x SHARC® Processors
Analog Devices ADSP-SC59x/2159x SHARC® Processors include the ADSP-SC59x (ADSP-SC598/SC596/SC594/SC592) and ADSP-2159x (ADSP-21594/21593) series, developed to supply immersive audio and sound experience in automotive and consumer/pro-audio applications. The ADSP-SC59x/2159x audio processors are mainly targeted for applications that require deterministic and low-latency real-time audio processing. These applications include immersive 3D sound and personal audio zones, automotive active and road noise cancellation (ANC/RNC), voice-based user interfaces and in-car communications (AEC/NR and microphone beamforming), and engine sound synthesis (ESS) and electric vehicle warning sound systems (EVWSS/AVAS). Additional applications include professional audio, soundbars, and home AVRs (with 3D Object and Multi-Channel Audio).The ADSP-2159x processors are members of the SHARC family of products, reaching speeds of up to 1GHz. The ADSP-2159x processor is a dual-SHARC+ core DSP that doubles the audio performance of its single-SHARC+ core ADSP-2156x predecessor while retaining pin compatibility in the BGA package. It supplies design scalability from 400MHz (ADSP-21566) to 2GHz (ADSP-21593).
The ADSP-SC59x/2159x processors are housed in a 400-ball FCBGA (17mm x 17mm, 0.8mm pitch) package in both automotive and consumer grades, adding design flexibility and thermally efficient compact designs across the operating temperature range.
Applications
- Consumer and Professional Audio:
- Speakers
- Sound bars
- AVRs
- Conferencing systems
- Mixing consoles
- Microphone arrays
- Headphones
- Automotive:
- Audio amplifier
- Head unit
- ANC/RNC
- Rear seat entertainment
- Digital cockpit
- ADAS
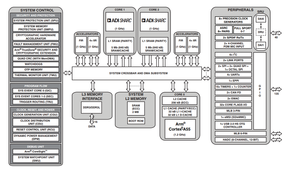
ADSP-SC594 Block Diagram
ADSP-SC598 Block Diagram
Publicado: 2024-07-30
| Actualizado: 2025-08-14
